Upload Archief |
| Hoofdpagina | Inloggen | Forum | Help |
| URL | |
| UBB | |
| HTML |
| overige afbeeldingen - bestand(en) | |||||
|---|---|---|---|---|---|
| bestand | dl's | grootte | datum | gebruiker | |
|
samsung.JPG | 279 | 283kB | 14-02-2006 18:49:59 | ka_bonthond |
| omschrijving: Protocol van bij Samsung DCB9401R geleverde afstandsbediening (IR) |
|||||
|
W3-871S.jpg | 419 | 140kB | 10-02-2006 21:28:23 | Douwe |
|
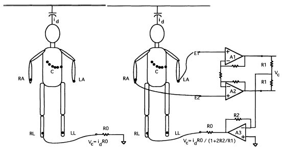
eeg-popetje.png | 1741 | 22kB | 08-02-2006 02:40:40 | YoGrandPaps |
| omschrijving: EEG poppetje met instrumentatie versterker |
|||||
|
auto002.jpg | 321 | 194kB | 05-02-2006 02:44:22 | nightwalker |
|
auto001.jpg | 444 | 196kB | 05-02-2006 02:44:03 | nightwalker |
|
IN17raster.jpg | 2355 | 14kB | 01-02-2006 00:09:44 | XiniX |
| omschrijving: In-17 nixie op 2.54mm raster |
|||||
|
Data.gif | 672 | 6kB | 30-01-2006 13:58:41 | CaseyCas |
| omschrijving: datasheet S8050 |
|||||
|
S8050-.gif | 676 | 4kB | 30-01-2006 13:52:34 | CaseyCas |
| omschrijving: Opschr. S8050 |
|||||
|
feedback.JPG | 690 | 233kB | 28-01-2006 02:59:35 | no_brain |
| omschrijving: Screendump |
|||||
|
d43(2).jpg | 447 | 104kB | 22-01-2006 18:58:57 | kweenie |
| omschrijving: stuk uit Telequipment d43 scoop manual |
|||||
|
132
ms
v1.5.4
© MM 2002 - 2026
|
|

