Upload Archief |
| Hoofdpagina | Inloggen | Forum | Help |
| Zoeken op "led" - bestand(en) | |||||
|---|---|---|---|---|---|
| bestand | dl's | grootte | datum | groep | |
|
led kubus 5x5x5 brandon mulder.jpg | 3400 | 222kB | 26-02-2010 16:34:47 | schema's |
|
80leds-tor.png | 783 | 5kB | 24-02-2010 22:44:50 | schema's |
|
led muziekgestuurd!!.jpg | 1420 | 16kB | 22-02-2010 21:00:55 | schema's |
|
tor-led.jpg | 603 | 4kB | 19-02-2010 11:15:41 | schema's |
|
sitecom_05.jpg | 369 | 64kB | 16-02-2010 21:10:54 | foto's |
| omschrijving: Foto aangepaste LEDs van Sitecom mediakast |
|||||
|
dscn5232.jpg | 1516 | 126kB | 21-01-2010 13:40:24 | foto's |
| omschrijving: Opstelling Eind RGB LED driver (oscilatie probleem) |
|||||
|
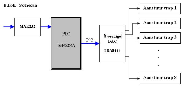
block schema.jpg | 1983 | 18kB | 21-01-2010 11:23:57 | schema's |
| omschrijving: Block Schema 8 voudige LED driver via RS232/485 |
|||||
|
schemargb.jpg | 516 | 36kB | 21-01-2010 11:03:43 | schema's |
| omschrijving: Current LED driver |
|||||
|
schakelingtemp.jpg | 2890 | 20kB | 19-01-2010 19:50:04 | schema's |
| omschrijving: schema temperatuur, als de temp van de auto te heet word gaat er een led branden. schakelwaarde is in te stellen door middel van potmeter. |
|||||
|
led kubus 5x5x5 met 16f628a v3.jpg | 4565 | 202kB | 17-01-2010 14:33:56 | schema's |
|
346
ms
v1.5.4
© MM 2002 - 2026
|
|

